Cost: NA
About These Ratings
Difficulty: NA Danger 0: (NA) Utility:

------------------------

In Which Simple Equation Show Whether a Knot Will Hold or Slip

---------------------

by Jearl Walker
August, 1983

---------------------

A HITCH IS A KNOT INTENDED to secure a line to another line or to a fixture. Are some hitches securer than others? Is there a limit to the load that can be placed on a hitch before it fails because the free end slips through the knot? Is there some way to alter a normal hitch so that it can withstand a heavier load? In exploring these questions I am guided by the work of Benjamin F. Bayman of the University of Minnesota, who has published an impressive theory about the strength of hitches.


Figure 1: A variety of hitches

The security of a hitch depends primarily on two features of the knot: how it is wrapped around an object (in what I call wraparounds) and how it passes over itself (wrapovers). Both features provide friction to maintain the hitch when the cord is put under tension. Without friction the cord slips through the knot, untying itself. My discussion is limited to cords of moderate diameter tied around fixed rods of larger diameter. What degree of friction in wraparounds and wrapovers will ensure that a hitch does not fail even when an arbitrarily large load is put on the cord?

I shall disregard here several practical aspects of knots. For example, some knots are better suited to a load that pulls perpendicular to the rod; others are designed for a load that pulls parallel to the rod. Some knots offer a certain advantage in holding for a long time even though they are slipping. Certain types of knots may be better if the load varies periodically in strength. All these factors are of secondary importance here. I shall also disregard any additional strength in a hitch that derives from the way adjacent sections of cord rub against each other (except at a wrapover). The principal sources of friction in a hitch are in the wraparounds and wrapovers.

To understand the role of tension in a cord under load imagine holding up a weight by a cord. Tension means that any small section of the cord is being pulled in opposite directions by forces from the adjacent sections. The tension is uniform along the length of the cord. Hence the force applied at the upper end of the cord must match the weight attached to the lower end if the assembly is to be stationary.

Next imagine holding up the weight by passing the cord over a fixed horizontal rod. The section of the cord between the weight and the rod is under uniform tension but the tension of the section in contact with the rod varies, decreasing from the side with the weight to the other point where the cord leaves the rod. The tension of the section between the rod and your hand is uniform but is lower than it is on the other side of the rod because of friction between the cord and the rod. Because the cord rubs against the rod, you no longer have to apply as large a force to hold the weight in place.


Figure 2: The forces in a wraparound

The amount of friction on the cord depends partly on the roughness of the two surfaces in contact and also on how much of the cord touches the rod. You gain friction by wrapping the cord several times around the rod in the maneuver known to sailors and climbers as belaying. Each additional wraparound reduces the force you must apply at your end of the cord.

Friction is also generated in a hitch if the cord passes over itself. When the cord is put under tension, the bottom part of a wrapover is pressed against the rod by the top part. The squeeze opposes the tendency of the cord to slide. The tighter the squeeze, the greater the friction. The hitch holds fast provided the friction is large enough to nullify the force that tends to make the bottom part of the cord slide through the wrapover.

A hitch is designed so that the friction generated within the knot is great enough to hold against the tension generated by a load. Suppose the load increases steadily. Does the tension eventually rise to the point where the free end of the cord begins to slide through the knot, or does the increase in tension merely increase the friction so that the cord cannot slip at all? If the friction increases automatically, the knot is self-tightening and cannot fail under any load. The cord breaks first. Whether the hitch fails or holds depends on its topology and on the friction provided by the wraparounds and wrapovers.

Consider a wraparound that is an integral multiple of a revolution. On one side the tension in the cord is large, call it T2. The tension is less on the other side; call it T1. The cord will not slip over the rod if T2 does not exceed a certain multiple of T1. The multiple is an exponential function of two quantities: the angle (in radians) through which the cord is wrapped around the rod and the coefficient of friction between the cord and the rod. If the cord makes one revolution around the rod, the multiple is the exponential function of 2 radians multiplied by the coefficient of friction. For simplicity the function can be written as e. The cord will not slip if T2 does not exceed e X T1. If T2 is larger than this amount, the friction between the cord and the rod is overwhelmed and the cord slips.


Figure 3: The forces in a wrapover

If the cord is wrapped twice around the rod, the multiple is an exponential function: 4 times the coefficient of friction. A simple way to write the function is e2. The cord will not slip provided T2 does not exceed en X T1. This relation shows the advantage of an additional wraparound. T2 can now be much larger than Tl because the additional friction in the extra revolution of wraparound helps to hold the cord in place.

For any integral number of revolutions of the cord around the rod the relation between the tensions on the two sides of the wraparound is similar in form. Let n be the number of revolutions. The cord will not slip provided T does not exceed en X T1.

The other method of gaining friction in a hitch is with a wrapover. Since the top part of a wrapover squeezes the bottom part against the rod, the bottom part resists being pulled through the wrapover to loosen the hitch. Consider the tensions on the two sides of the bottom section in a generalized wrapover. On the side with the large tension (T2) the force tending to make the bottom part of the cord slide through the wrapover is equal to T2.

Opposing this tendency is the smaller tension (T1) on the other side of the wrapover. An additional opposing factor is the friction provided by the squeeze from the wrapover. At most the friction can be a certain multiple (u) of the tension in the top part of the wrapover. The bottom section of cord does not slip through the wrapover if T2 does not exceed T1 + uT. If T2 is too large, the friction from the pressure of the top section is not enough to hold the bottom section in place.


Figure 4: A clove hitch

The value for u is difficult to calculate for a general situation because it involves the coefficients of friction between the rod and the bottom cord and between the overlying sections of cord. It also depends on the diameter of the rod and cord, a geometry that affects the application of force by the top section to the bottom section. Bayman measured u and e for hitches of braided nylon string on a smooth steel rod; e was approximately 4, u about .2.

The clove hitch embodies both wraparounds and wrapovers. It is a common hitch whereby one can secure a cord to a fixture or to a heavier rope. From the free end the cord passes once around the rod and back over itself. Then it wraps once more around the rod before it emerges from under a second wrapover.

Sections of the cord are labeled in the illustration on the right, beginning with 0 at the free end. Section 1 begins at the first wrapover and continues until the cord passes under the second wrapover. Section 2 emerges from the second wrapover and goes off to the load. (In application the hitch is pulled tighter than is shown.)

Is it a good hitch? Can the load on section 2 be arbitrarily large or will the load finally cause the free end to slip through the first wrapover and unravel the entire knot? Consider the bottom part of the first wrapover. On one side the free end has no tension. On the other side the cord has a tension (T1) that acts to cause the free end to slide through the wrapover. The only opposing force is the friction generated by the top part of the wrapover where it presses the bottom part against the rod. If the hitch is to hold, T1 cannot exceed the maximum possible value of this friction.

Next consider the two wraparounds of section 1. They do not slip if the tension in the part of the section near the second wrapover does not exceed e2 X T1. Finally, consider the second wrapover. The cord will not slip under it if the tension (T2) from the load does not overwhelm the opposing forces at the wrapover.


Figure 5: The first wrapover of a clove hitch

These relations of forces in the various parts of the hitch form a set of simultaneous inequalities that must be satisfied. The inequalities can be solved by a simple means of substitution, just as with simultaneous equations. The result is compact: all the conditions for avoiding slippage are satisfied if the value for u exceeds 1/e. If this single condition is met, the load on the hitch can be arbitrarily large and the hitch will still hold. Additional load increases the pulls tending to loosen the knot but also increases the tensions that generate the opposing friction.

The first wrapover is the crucial element of the clove hitch. The force trying to pull the free end through the wrapover is equal to T1. The opposing force is at most equal to u times the tension in the cord passing over the top of the wrapover. That tension is easily related to T1 because only one wraparound lies between the two points in the cord. Since the tension in the top part is at most eT1, the friction at the wrapover is at most ueTl. If u exceeds l/e, the hitch holds any arbitrarily large load on the cord. An increase in the load merely provides more friction to lock the hitch in place.

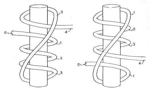
Would additional wraparounds in the clove hitch make it hold better in the sense that it can hold an arbitrarily large load with a smaller value of u? Two modified clove hitches are depicted in the illustration below. In the first hitch the cord is wrapped two more times around the rod before it crosses over the boundary between sections O and 1. In the second hitch the additional wraparounds are made just before the cord goes under its last wrapover and off to the load. These hitches are certainly more complex than the regular clove hitch, but are they stronger in the sense that they make less of a demand on the value of u? Is one of the modified hitches better than the other?


Figure 6: Modified clove hitches

The key element in these modified clove hitches is the competition taking place near the free end. Consider the first knot. Section 1 is trying to make section O slide through the wrapover with tension T1. The top section of the wrapover is opposing the slide by pressing on the cord.

Does the cord slide? No, not if is sufficiently large. Must it be as large as it is in the normal clove hitch? No, it can be considerably smaller because of the additional wraparounds. The tension in the top section of the first wrapover is now much larger than the force (T1) tending to make the cord slide through the first wrapover. In the normal clove hitch the force from the wrapover can at most be ueTl. The (implicit) power of 1 on the e is from the single wraparound between the top part of the wrapover and the place where T1 pulls on the bottom part. In the modified hitch the force from the wrapover can be as much as ue3Tl. Here the (explicit) power of 3 on the e comes from the three wraparounds between the top and bottom parts of the wrapover. Hence the modified hitch stands a better chance of holding fast.

How about the second modification? It appears to be as complex as the first, but again the key element lies in securing the free end. This time the competition of pulls is precisely like that in a normal clove hitch. The extra wraparounds do not serve to secure the free end and so give no improvement over the normal clove hitch. They do give more friction on the cord, thereby reducing the value of T1 when the cord is put under load, but the hitch still must have u in excess of 1/e (just as it does in the clove hitch) if it is to hold.


Figure 7: A double clove hitch

Something additional can be concluded from the first modified clove hitch. If it is to hold, the value of u must exceed 1/(e + e2 + e3). If u is larger than 1/(e + e2), however, the first wraparound (section 1) serves no purpose and can be eliminated without jeopardizing the integrity of the hitch. Section O might as well pass through a wrapover and become section 1. Furthermore, if u is larger than 1/e, section 2 serves no purpose and can also be eliminated. Thus if u is larger than 1/e, there is no reason to put extra wraparounds into a clove hitch because the hitch is already certain to hold fast.

Another possible modification is the double clove hitch depicted in the middle illustration at the left. This hitch differs from the normal clove hitch because after the cord passes under the second wrapover it does not go directly to the load. Instead it makes another wrapover and another wraparound and then passes under itself to go to the load.

Does the extra hitching reduce the requirement on the value of u? No, at least not with the assumptions I have made about the primary sources of friction in knots. If the double clove hitch is to hold, u must still exceed 1/e. The extra hitching serves primarily as a safety feature. If section O slips through its wrapover, you still have a clove hitch that must be untied before the cord loosens completely from the rod.

A knot similar to the clove hitch is the groundline hitch shown in Figure 8. It differs from the clove hitch in the way the early stages of the knot are wrapped. Section O passes under a wrapover made by a late section in the knot, that is, a section near the one under full load. Section 1 wraps once around the rod and then passes under itself to begin section 2, which wraps once around the rod before it passes under the last wrapover and begins section 3.


Figure 8: A groundline hitch

An analysis of the simultaneous inequalities indicates that this hitch holds fast if u and e meet the condition that ue(u + e) exceed 1. Since e is greater than 1, the condition is met with a small value for u, smaller than the value of 1/e demanded by the clove hitch. Hence there is a range of values for u in which the groundline hitch holds but the clove hitch does not. If u is larger than 1/e, both hitches serve equally well.

Why can the groundline hitch hold even when u is too small for the clove hitch to hold? The reason is found in the way the free end is tucked. In the clove hitch the free end is under the cord of section 1 after it has made one wraparound. In the groundline hitch the free end is tucked under a section of the cord closer to the region of full load. Therefore the tension in the top part of the wrapover that fixes the free end is larger than it is in the clove hitch. In general a hitch is stronger (in the sense that less is demanded of u) when the free end is tucked in this way.

Bayman presents another example of how to tuck the free end beneficially. In the constrictor knot the free end of the cord runs under two wrapovers, each of which is under large tension. The solution of the simultaneous inequalities yields the lower limit of u if the hitch is to hold fast: it must be larger than 1/(e(2 + e)). Since this requirement is milder than the one for the clove hitch, the constrictor hitch is a better knot when you think the value for u may be low. If u is greater than 1/(2e), the friction in the wrapover marking the boundary between sections 1 and 2 is great enough so that the tension in section 1 can be zero and still the cord will not slip. If u is greater than 1 /e, section 2 is no longer required and can even have zero tension without jeopardizing the hitch. Hence the full constrictor hitch serves well if u is small compared with 1/e, but the full hitch is not needed for larger values of u.

Bayman considers a modification of the constrictor hitch in which section I is wrapped around the rod once before it tucks under itself. Compare this knot with the full constrictor hitch. They differ only in the tying of section 1. In the regular hitch section 1 tucks under a section that is subject to a large tension, and so it is secure. In the modification section 1 gains some friction from the wraparound but then merely tucks under itself. Less tension presses down on the cord at the wrapover dividing sections 1 and 0.


Figure 9: A constrictor knot

This modified knot is certainly not as strong as the usual constrictor hitch. Is it better than a hitch in which section 1 is not tucked away at all? No, tucking section 1 under itself serves no purpose. In order for section 1 not to slip through the wrapover dividing it from section 2 the value of u must exceed 1 /2e.

Suppose it does not. Does the extra tie of section 1 save the hitch? No, because its wrapover on itself requires u to be larger than 1/e if the knot is not to slip. Therefore if the rest of the hitch begins to fail, the extra wraparound and wrapover of section 1 do not prevent the failure. You might as well leave them out, or better yet tie the full constrictor hitch.

Figure 11 depicts a knot in which the cord leaves the knot parallel to the rod. This knot may be better than the clove hitch in some applications. I have not encountered a formal name for it; because it is similar to a knot for securing a fishing line to a straight hook (one without an eye the line can be tied to), I call it a fishhook knot.

When I solve the simultaneous inequalities for this knot, I find that (within the assumptions I have been applying) the hook knot demands the same kind of value for u as the clove hitch. In both hitches section 1 tries to pull the free end through a wrapover. Also in both knots the tension in the top section of the wrapover is T1 multiplied by the factor due to one wraparound and thus is at most eTl. If the cord is to remain in place, the value of u must exceed 1/e Although the two knots look different and may serve different functions in application, they are identical in their ability to withstand an arbitrarily large load.

If a cord or a fishing line is to be tied to a straight hook, the cord ought to be wrapped around the shaft of the hook several times before it is wormed through several wrapovers. How effective are the extra wraparounds? Does adding one more wraparound make a significant change in the demand on the value for u?


Figure 10: Benjamin F. Bayman's modified constrictor

When I solved the simultaneous inequalities for this knot, I found that the minimum value of u is driven downward sharply with each additional wraparound. For the knot shown the value for u must exceed 1/(e + e2 + e3). If you eliminate one of the wraparounds, the term e3 drops out of the formula. Since e is larger than 1, the loss of one wraparound can have a significant effect.

Figure 12 shows a sheet-bend hitch designed for joining a cord of small diameter to a larger rope. The rope forms a U. From the free end the cord wraps around the full U once and then back over itself before it passes through the bottom of the U and off to the load.

The "lock" on this knot is in the wrapover. In the top part the cord has a large tension, almost as large as in the section under full load. The bottom part of the wrapover is therefore pressed hard against the rope. If the wrapover fails, the entire sheet bend fails.

To analyze the sheet bend's friction requirement I make several assumptions. First I assume the rope is fairly stiff so that in the wrapover the bottom part can be squeezed between the rope and the top part. I also assume the wraparound on the U is identical with one around a rod of large diameter. Within the limits of these assumptions the requirement on u for the cord to hold is that it must exceed 1/e, just as with a clove hitch. The sheet bend is in the same class as a clove hitch.

The sheet bend can be improved by wrapping the cord around the U more times before making a wrapover and passing the cord through the bottom of the U. Each added wraparound increases the effectiveness of the wrapover by widening the difference in tension between the top and bottom parts of the wrapover.


Figure 11: Knots for a fishhook

All the knots I have discussed can be investigated by solving simultaneous inequalities. Bayman has devised a quicker solution in which a determinant is constructed from the coefficients in the inequality statements. If the quantities of e and u lie at the crucial values where the cord is on the verge of slipping, the simultaneous statements are equations and not inequalities. Hence at the crucial values the determinant is equal to zero. Establish it at zero and then expand it in the usual way. The resulting equation is solved for u. This value of u must be exceeded if the knot is to hold under load.

The first step in constructing a determinant is to section the hitch for analysis. The free end is labeled O as before. Each of the succeeding sections is defined as a length of cord that begins at the bottom of a wrapover and extends until it must pass under another one. The determinant is laid out on a chart labeled with i vertically and j horizontally. These letters represent the various sections in the hitch. Neither section O nor the last section (the one under the full load) is included.

The determinant is filled in by horizontal rows. Within a row the spaces under the values of j are determined through three rules: (1) If j matches i, the space has a term of 1; (2) if j is the section where i begins, the space has a term of -uen, where n is the number of wraparounds j makes before it passes over the beginning of i; (3) if j is the section just before i in the hitch, the space has a term of -uen, where n represents the total number of wraparounds the previous section has.


Figure 12: A sheet-bend hitch

The determinant for the full constrictor hitch is worked out in Figure 12. The top row is for section 1, the middle row for section 2 and the bottom row for section 3. In the top row j and i match in the first space, and so a 1 is inserted. The other rules do not contribute any further terms to the space. They also do not contribute anything to the space below j = 2, which is left at zero.

The space below j= 3 does have a contribution because section 1 begins under section 3. Since section 3 has been through one full wraparound when it crosses over the beginning of section 1, the value of in the term contributed by the second rule is 1.

The second row pertains to section 2 of the hitch. The space below j = 2 has a value of 1 because of the match of i and j. The space below j = 1 deals with the section of the hitch just ahead of section 2. Section 1 had no full wraparounds, and so the term from rule 3 that is to be filled in is -e0, or-1.

The space below j= 3 relates to the beginning of section 2. Since it begins under section 3 before that section has made a wraparound, the contribution to the determinant is -ue0, a term that reduces to -u.

The bottom row in the determinant pertains to section 3 of the hitch. The space below j= 1 has no contribution. The space below j = 2 has-e because section 3 is preceded by section 2, which has one


Figure 13: Constrictor-knot determinant

wraparound. The space below j = 3 has two contributions based on the three rules. The match of j and i contributes a term of 1. A second term is contributed because section 3 begins under itself after it has made one wraparound. This second term is -ue1, which simplifies to -ue.

Once the determinant is constructed it is set equal to zero and solved by multiplying terms along diagonals or by reducing the determinant to smaller determinants. The resulting equation involves both u and e. The solution for u in the equation is the critical value for u. If u is smaller than this value, the cord slips because the wrapovers will not hold under tension. If u is larger than the critical value, the cord can be expected to hold under load.

A great deal more can be done on the analysis of hitches and other knots. Besides investigating new knots or improving old ones you might like to strengthen the theoretical analysis. For example, Bayman points out that not all wrapovers are identical in their ability to squeeze an underlying section of cord, particularly when one section of cord forms the top part of several adjacent wrapovers. If you do strengthen the theory or if you find interesting new knots, I would enjoy hearing from you.

 

Bibliography

THEORY OF HITCHES. Benjamin F. Bayman in American, Journal of Physics, Vol. 45, No. 2, pages 185-190; February, 1977.

 

Suppliers and Organizations

The Society for Amateur Scientists (SAS) is a nonprofit research and educational organization dedicated to helping people enrich their lives by following their passion to take part in scientific adventures of all kinds.

The Society for Amateur Scientists
5600 Post Road, #114-341
East Greenwich, RI 02818
Phone: 1-401-823-7800

Internet: http://www.sas.org/