Cost: $0-100
About These Ratings
Difficulty: Beginner to intermediate Danger 2: (Minor injury possible) Utility:

------------------------

Motors in Which Magnets Attract Other Magnets in Apparent Perpetual Motion

---------------------

by Jearl Walker
March, 1982

---------------------

PAUL MONUS OF CLEVELAND STATE University builds delightful motors in which a magnet moves past a series of other magnets, sometimes apparently without end. Typically a small cylindrical magnet rolls along a track of magnets covered with a sheet of Plexiglas. The cylinder is propelled primarily by the interaction of the fields of the moving magnet and the stationary magnets, but the motion is maintained by the momentum of the moving magnet and on occasion by an electromagnet placed strategically near the track.


Figure 1: Paul Monus' arrangement for running a roller on a linear track

The motors are by-products of Monus' research on the efficiency of magnetically aided direct-current motors. In some of the by-product motors the aim is to have a cylindrical magnet move from a starting point to a definite stopping point. In others the aim is to have a motion initiated by the experimenter continue. My favorite motor is one where a cylindrical magnet rolls indefinitely in a circle over an array consisting of several permanent magnets and one electromagnet.

The simplest of Monus' motors has a linear track of 155 flat ceramic magnets. Each magnet is an inch long, 3/4 inch wide and 3/16 inch thick. The magnets lie in blocks of five across the width of the track, which consists of 31 such blocks. The blocks are sandwiched horizontally between two strips of soft iron, each an inch wide, 1/4 inch thick and 31 inches long. The blocks and the strips are held in place by horizontal brass bolts. (Brass has the advantage of not distorting the magnetic fields.) All the ceramic magnets are oriented in the same way, so that one of the iron strips is a south magnetic pole and the other is a north magnetic pole.

The ceramic magnets and the soft iron are in the class of materials termed ferromagnetic. Other types of materials display magnetic properties only when they are put into an existing magnetic field. A ferromagnetic material is magnetic on its own because of a special alignment of some of the electrons in its atoms. All electrons have intrinsic magnetic fields around them, almost as if they were tiny loops of current. Indeed, in investigations of magnetic materials the electrons are often visualized as being such small loops. To further visualize the magnetic field contributed by an electron the vector called a magnetic moment is assigned to it. All electrons have magnetic-moment vectors of the same size.

In materials that are not ferromagnetic the orientation of the vectors is random. Since the material is sure to have a great many electrons, each vector has a partner that points in the opposite direction. The electrons are paired off in this way in each atom. Thus each vector is canceled and the material has no net magnetic field. This cancellation of magnetic moments is the reason the human body is not magnetic in spite of its abundance of electrons.

The situation is different in a ferromagnetic material because of the mutual alignment of many of its electrons. Each atom has two electrons with no partner to cancel their magnetic moment. These atoms have a net magnetic moment. Regions where the magnetic moments of the atoms are aligned are called domains. Hence each domain has its own net magnetic moment.

A permanent magnet has a magnetic field (even if it is not in the presence of some other source of one) because many of the magnetic moments of the domains are aligned. If the moments of the domains are entirely aligned, the magnet is said to be saturated. If they are less than entirely aligned, the magnet has a weaker magnetic field. Monus' track is made of permanent magnets in which the alignment of the magnetic moments of the domains has generated a relatively strong magnetic field.


Figure 2: A double track for pulling the roller up a grade

The domains in the strips of soft iron are less aligned. The iron is therefor said to be magnetically soft. When Monus attaches soft iron to the blocks o ceramic permanent magnets, the magnetic fields from the blocks aid in aligning the magnetic moments of the do mains in the iron. The strips of iron the add to the magnetic field surrounding the track. They also help to smooth the transition in the magnetic field from one block of ceramic magnets to the next.

Over the track of magnets Monus fastens a flat sheet of Plexiglas. One end of the sheet is flush with the end of the track. The other end extends beyond the track and serves as a launching section for the cylindrical magnet. The sheet is three inches wide, 1/8 inch thick and 37 inches long. The overhang for the launching section is therefore about six inches.

A similar sheet of Plexiglas is mounted on the underside of the track; the ends are flush with those of the track. The entire structure is supported about two inches above a base made out of Plexiglas or wood. Other nonmagnetic materials could be substituted. The support is adjusted until the track is horizontal (Monus also makes motors with tracks tilted from the horizontal, to which I shall be returning.)

The cylindrical magnet that is propelled by the magnetic field of the track is made out of three rings of ceramic magnet joined end to end; each ring is an inch in diameter and 1/4 inch thick The rings are held together by a wood or plastic rod pushed through their central hole. They are positioned so that a north-pole face is adjacent to a south-pole one.

The roller is placed on the launching section of the Plexiglas cover with its magnetic field oriented opposite to the field from the track. Hence its south magnetic pole is on the same side as the track's north magnetic pole. When the roller is released, the magnetic field of the track prevents it from spinning around a vertical axis. The field also pulls the roller toward the track. The magnetic force on the roller and the roller's own momentum combine to cause it to roll along the track and to stay on the Plexiglas.


Figure 3: The magnetic field along the linear track

The horizontal propulsion is the result of the interaction of the roller's magnetic field with the change in the magnetic field through which the roller passes. Magnetic fields are often depicted with field lines. A stronger magnetic field is depicted with a denser collection of lines. The roller begins its trip in a region where the field lines are relatively far apart and is pulled into regions where the lines are progressively closer together. This gradient of field lines (representing the strength of the track's magnetic field) provides the force for the acceleration of the roller.

When the roller passes over the first block of ceramic magnets, it continues to accelerate as the magnetic field of the track propels it. At the midpoint of the track the propelling force diminishes and then vanishes. The roller does not stop, however, because of the momentum it has by the time it reaches the equilibrium point. Overshooting that point, it continues toward the far end of the track. The magnetic force on it now is opposite to its motion, and it gradually slows down.

Suppose the Plexiglas extends beyond the far end of the track. The roller moves out beyond the last block of magnets before it is brought to a stop by the magnetic force. Just how far it moves beyond the last block depends on how much energy it loses during its travel. If the loss is insignificant, the roller moves as far beyond the last block as it was ahead of the first block on launching This behavior, of course, is due to the conservation of energy. The roller has a certain amount of potential energy when it is placed in the magnetic field of the track. As the track's magnetic field accelerates the roller the potential energy is gradually transformed into kinetic energy, although the total energy of the roller remains the same.


Figure 4: How Johannes Taisnierus envisioned "perpetual motion" in the 16th century

The kinetic energy is greatest and the roller's speed is highest as the roller passes through the equilibrium point of the track. Thereafter the magnetic field of the track gradually slows the roller and the kinetic energy is transformed back into potential energy. The transformation is complete when the distance between the roller and the last block of magnets is the same as that between the roller and the first block.

As a result of these forces the roller rolls back and forth along the track, continuously exchanging its potential energy for kinetic. The motion would continue forever if something did not sap the roller's energy. That something is mostly the tiny friction between the roller and the Plexiglas. The roller also loses energy because as it travels through the track's magnetic field it disrupts the existing alignment of the domains in the iron. In both cases the lost energy ends up as a tiny amount of heat, either in the surface of the Plexiglas and the roller (because of friction) or in the magnets (because of the jostling of adjacent domains).

On each trip down the track the roller therefore has slightly less total energy. The distance by which it overshoots the end blocks decreases until it no longer overshoots at all. Finally the energy of motion is exhausted and the roller comes to a stop at the equilibrium point. Of the track.

Monus has devised a way to avoid a symmetrical back-and-forth motion of the roller. As I have indicated, the far end of the Plexiglas is flush with the end of the track. When the roller reaches this end, it drops over it. Now any one of several things can happen. At a low speed the roller is held by the magnets of the track, so that it goes around the end and is held against the sheet of Plexiglas on the bottom of the track. It now rolls back under the track toward the launching section. There the Plexiglas ends, and the roller may roll up around the end and bump into the underside of the launching section. This sudden loss of energy will probably stop the motion.

If the roller is moving fairly fast when it drops over the far end of the track, it falls onto the base that supports the entire apparatus. If the base is not too far below the track, the track's magnetic field still pulls the roller backward along the base. If the roller is too far below the track, it might not receive enough propulsive force to keep it moving. It would stop soon after falling.


Figure 5: The magnetic switch and electromagnet that make up the energy lost by the roller

Monus has added two more features to this basic structure. First, to protect the base from the impact of a falling roller he sometimes rigs up a Plexiglas container to catch the roller. The container can be at the far end of the track from the launching section, in which case it catches a fast roller that does not return along the bottom of the track. Alternatively the container can be at the near end of the track under the launching section, in which case it catches a slow roller that does return along the bottom of the track. Second, he has positioned a horseshoe permanent magnet on the base just under the launching section, partly to help the roller returning along the bottom of the track fall off at the end of its run.

Monus has experimented with this additional magnet in order to establish the right initial speed for the roller. He has also experimented with the initial distance between the roller and the first block of ceramic magnets. A greater distance means that the roller goes down the track too fast and falls off without returning. A lesser distance means that the roller rounds the far end and returns to the launching end along the underside of the track. A small distance means that it returns on the top side.

This type of simple magnetic motor need not be horizontal. When the far end of the track is elevated, progressively larger accelerations are needed in the initial launching to get the roller to the far end. Monus has designed another kind of motor to help the roller climb the tilted track. Above the far section of the track he has mounted another track of ceramic magnets, made the same way the main track is and having the same orientation. The function of the second track is to shift the equilibrium point away from the midpoint of the main track toward the far end. As a result the roller accelerates longer on the main track and goes farther before it begins to slow down. It can now climb a modest slope.

Monus says the positioning of the additional track is critical. He mounts it with brass bolts that run horizontally through slots in the supporting pillars of Plexiglas. By adjusting the position of the bolts in the slots he finds the optimum separation between the two tracks and the best angle for the additional track.


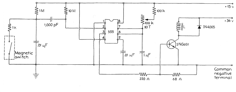
Figure 6: Circuitry of the electromagnet

When everything is properly adjusted, the roller rounds the far end of the tilted main track and returns along the underside to the lower end. As the roller descends it gains speed. In this motor the Plexiglas sheet mounted under the track extends slightly beyond the end of the track. Because of this additional length and because of the gain in speed from the descent the roller falls off the end o f the track. Here there is an apparatus to catch the roller and return it to its starting position.

The roller is caught in a Plexiglas bucket covered with plastic foam to protect it from the impact of the falling roller. The bucket is mounted on a pivoted arm actuated by an electric motor. When the roller falls into the bucket and depresses it, the arm is rotated upward, depositing the roller on the launching section. The entire journey up the tilted track and down along the underside is repeated. The motion continues as long as the arm driven by the electric motor redeposits the roller on the launching section.

This kind of apparatus, like other motors designed by Monus, immediately suggests "perpetual motion." Actually, of course, the motion continues only because the motor-driven arm lifts the roller back to its launching position. Continuous cycling of the roller could not be achieved without such an input of energy.

In 1570 Johannes Taisnierus, a Jesuit priest, believed a similar apparatus he had designed would run perpetually. In his scheme a lodestone (a piece of magnetic mineral) is mounted at the top of a pillar to which a ramp runs from the ground. An iron ball is placed at the bottom of the ramp. If the magnetism of the lodestone is strong enough, it pulls the ball up the ramp. Near the top of the ramp the ball comes to a hole, falls through it and is returned by another ramp to its starting point. Taisnierus believed the cycle would be repeated forever. Of course, even if the lodestone were strong enough, frictional losses and others would soon bring the iron ball to a halt.


Figure 7: A roller that goes on and on, thanks to the electromagnet

Monus has investigated the losses in his type of motor with a horizontal track of magnets to which he has added Plexiglas curved upward at both ends. At one en] of the track he placed an electromagnet. Along the track he mounted a magnetic switch that would send current to the electromagnet. When the roller passes the switch, there is a brief delay and then the electromagnet is turned on. Therefore the electromagnet is energized just as the roller approaches the end of the track. Although the magnetic field of the track and the pull of gravity are both acting to slow the roller at that point, the pull of the electromagnet is strong enough to keep the roller moving up the track.

Without this additional pull the roller would merely roll back and forth over the track until it had lost all its kinetic energy. The purpose of the electromagnet is of course to supply the additional energy on each cycle. Monus adjusts the amount of current available to the electromagnet to match the energy the roller loses during a cycle. As a result the roller keeps going indefinitely. By measuring the current to the electromagnet he measures the losses of the system.

The circuit for the magnetic switch and the electromagnet is shown in the lower illustration above. Two voltage sources (of 15 and 36 volts respectively) are needed. Their negative terminals are connected to a common ground. The potentiometer is critical to the success of the circuit. Monus has installed one that has 10 turns (it is identified by the 10 T in the diagram). This resistor controls the electromagnet. If the field from the electromagnet is too weak, the motion of the roller soon damps out. If the field is too strong, the roller is pulled so vigorously by the electromagnet that it bangs into the stop at the end of the track.

The most amusing of Monus' motors is one in which the roller travels over a horizontal track of permanent magnets laid out in the approximate shape of a horseshoe. The track consists of three main sections. The first is a short, straight length in which the magnets are mounted as they are in the linear motors I have already described. The second section is semicircular. The third section is an electromagnet triggered by a magnetic switch on the semicircular section. Over all these magnets is a sheet of Plexiglas. The roller is released a few inches from the starting end of the first section. As in the linear motors it accelerates onto the track, overshoots the equilibrium point and continues past the last block of magnets in the straight section. There it is pulled onto the curved track. Again it accelerates toward the equilibrium point of the section, overshoots it and emerges from the other end of the section.

Before the roller has a chance to be pulled back onto the curved track it rolls over the electromagnet triggered by a magnetic switch on the track. The pulse of current to the electromagnet creates a magnetic field and by that means pulls the roller toward the electromagnet. This pull also supplies fresh energy to the roller, adjusting for the energy it lost as it traveled.

The roller overshoots the electromagnet, which loses its field as the pulse of the current shuts off, and continues on out across the sheet of Plexiglas. As it does so it is pulled over toward the first section of track where it began and is accelerated onto that track again. The entire cycle is repeated. I have watched the thing for long periods because the motion is mesmerizing. The roller accelerates by an invisible force, whips around a curved track, is set free and then with a jerk is recaptured by the invisible force.

The most mystifying of Monus' creations is a Plexiglas wheel that spins indefinitely. On its rim are five blocks consisting of two ceramic magnets each. The blocks are evenly spaced along the perimeter. The wheel rotates on a horizontal axle supported by two Plexiglas pillars. Parallel to the plane of the wheel and immediately adjacent to it is a larger stationary sheet of Plexiglas. On this sheet is a curved row of ceramic magnets at a slightly larger radius from the center than the magnets on the rim of the wheel. At a smaller radius is a shorter curved row of magnets.


Figure 8:
An arrangement for a wheel made to rotate by magnets

Once the wheel has been set spinning one of the rim magnets at the bottom of the wheel is pulled by the longer row of magnets on the stationary sheet. This rim magnet moves up to and then along the curved row, further turning the wheel. The magnetic force on the rim magnet diminishes once the magnet has gone along part of the stationary row, but by then another rim magnet is being pulled along the row. Further impetus is given to the wheel when a rim magnet nears the end of the longer curved row and approaches the shorter curved row. Just as in the linear motor the two rows of magnets pull the moving magnet along. The rim magnet passes through the equilibrium point of the two rows and continues on past it.

Although the wheel continues to turn indefinitely without visible assistance other than the magnets, its perpetual motion is an illusion. An electromagnet is hidden in the wood base of the machine. As in some of the other motors a magnetic switch triggers a pulse of current to the electromagnet. The electromagnet then pulls on a rim magnet as it emerges from the space between the two stationary curved rows of magnets. The pull adds energy to the wheel, compensating for its small energy losses.

The motor looks even more like a perpetual-motion machine because it has no telltale power line going to a wall plug. The power supply is a capacitor that stores enough energy from the electromagnetic fields already filling the room from the house current. Their energy is picked up by an antenna also concealed in the base; the oscillating current induced in the antenna is rectified and supplied to the capacitor. After a while the capacitor holds enough energy to generate a modest magnetic field in the electromagnet whenever the magnetic switch triggers it.

Monus bought his ceramic magnets from the Permag Magnetics Corporation, 2960 South Avenue, Toledo, Ohio 43609. The magnets are Indiana General brands, types Indox 1-F-1201 for the flat magnets and Indox 1-F-1403 for the cylindrical ones. Many other types and brands of permanent magnets can be substituted, although you might have to experiment with the size of the motors. Monus' magnetic switches came from Radio Shack: minireed switch 275-1610. Other brands will serve. If you would like detailed information and drawings describing Monus' motors, write to him at Box 421, Willoughby, Ohio 44094. The booklet costs $9.99 plus $1.50 for postage and handling. (Ohio residents should add the appropriate sales tax.) Monus can also send parts and building kits.

Bibliography

MODERN MAGNETISM. L. F. Bates. Cambridge University Press, 1963.

Suppliers and Organizations

The Society for Amateur Scientists (SAS) is a nonprofit research and educational organization dedicated to helping people enrich their lives by following their passion to take part in scientific adventures of all kinds.

The Society for Amateur Scientists
5600 Post Road, #114-341
East Greenwich, RI 02818
Phone: 1-401-823-7800

Internet: http://www.sas.org/