Cost: $0-100
About These Ratings
Difficulty: Beginner to intermediate Danger 1: (No Hazards) Utility:

------------------------

Pros & Cons of Different Focal Lengths, the Schaldach Mount. Cassegrain Telescopes

---------------------

by Albert G. Ingalls
September, 1948

---------------------

THOSE WHO BECOME INTERESTED in amateur telescope making often note that most telescopes made by amateurs have tubes about eight times as long as their diameters. It is also interesting to observe that a few are only half that long, and that a few more are twice that long. No mere whim determines these proportions. Each has its functional significance. The uncommonly short telescope is a specialized type for viewing nebulae and the Milky Way, i.e., faint objects. The unusually long one is a special type for viewing the planets and the moon, or extended and relatively bright objects. The commonest telescope, proportioned one to eight (f 8) is a compromise type serving both of these uses reasonably well.

The short telescope is especially designed for light-gathering. Its deeply concave mirror focuses light on a comparatively small area, giving a small image. Therefore such a telescope, though it gathers much light, magnifies little. However, in observing stars magnification is not the great thing the novice often thinks it is. Other things are more important.

The long telescope specializes in magnification, something it can well afford since the planets send it enough light to permit that luxury (magnification greatly diminishes image brightness). In observing the planets, magnification is important up to a point past which it gives no gain and is called "empty" magnification.

When a beginner has made a six-inch and perhaps an eight-inch or ten-inch telescope of the common f 8 compromise type and thus has learned the basic shop practice of glass-working, he becomes one of the cognoscenti, if not one of the illuminati. He should then promote himself to the exalted status of an advanced amateur and go ahead with some less orthodox projects in optics. One such adventure is to make a telescope of the short or nebula-Milky Way type called "RFT" (richest-field telescope) and described in Amateur Telescope Making-Advanced. Another is to complement it with a long planetary type. Each of these will be superior to the medium or compromise type for their specialized applications. Many amateurs do this.

The same program could, of course, be followed without the preliminary steps. But only the incautious will attempt it, especially because the short-focus mirror of the RFT is much more difficult to make than mirrors of longer focus. (incidentally, the best RFT of a reflecting type is no longer a four-inch f 4, but a seven-inch f 4.2 using a 1.2-inch eyepiece-a change made by Walkden in 1946 based on newer astronomical data.)


Figure 1: The Lovi Observatory near Freedom, Pa.

A 12 1/2-inch planetary telescope, its tube perhaps 16 feet in length, would be something to dream about. Such a tall telescope poses some serious practical problems, however. The observer's head would have to be 16 feet above floor level and he would need some kind of structure to stand on. That structure, unless pretty bulky in itself, might prove somewhat unsafe. Last year Dr. Alfred Joy of Mount Wilson, preoccupied with observations with the 100-inch telescope, fell 20 feet to a concrete floor and broke three limbs.

John and Samuel Graf, father and son, farmers of Freedom, Beaver County, Pa., have solved this height problem in a unique manner. They permanently raised their whole observing floor to the middle of the telescope tube and then, for additional convenience, made the floor an integral part of their revolving dome.

As shown in Russell Porter's drawing from Samuel Graf's sketch, a stairway is suspended from the platform and does not quite reach the lower floor. The stairway rotates with the platform, so the lower story of the observatory is left empty. "This arrangement," Porter comments, "seems to me a fine and new contribution to the long-focus telescope. Everything except the telescope and its mounting is hung from the dome."

Other information about the Graf telescope has been supplied by Leo J. Scanlon of Pittsburgh, one of a neighborhood group (Scanlon, Norbert Schell, Roelof Weertman) who often visit the Grafs at their "Lovi Observatory." The 12 1/2-inch mirror is 14 feet, 7 inches in focal length and is therefore an f 14. The welded 11-gauge steel tube weighs nearly 300 pounds. The dome is made of aluminum T ribs with 22-gauge aluminum sheets curved and riveted over them. The slot is a full four feet wide which, on the 17-foot diameter of the dome, gives ample slot width.

The dome shutter, as shown in the photograph, consists of three separate sections of hard aluminum, each of which can be independently moved from the horizon to past the zenith or set with narrow intermediate openings as desired, a feature essentially the same as that in the dome of the 200-inch telescope on Palomar Mountain This keeps out the draft.

To rotate the dome, a hand crank mounted on the platform, and therefore always easy to find in the dark, drives 8 sprocket that travels on top of an endless link sprocket chain attached to the dome ring plate. A section of the solid oak ring plate is a full 2 inches by 12. When the Grafs needed wide planks from which to cut curved segments they went to their own woods and sawed up a 225-year-old oak tree. This and other oaks furnished the observatory framing and side slabs. Scanlon claims that this makes the Graf's Lovi Observatory the oldest in the Western Hemisphere.


Figure 2: The Schaldach mounting

THE principal point in favor of the telescope mounting shown in a sketch by Robert D. Schaldach of West Hartford, Vt., is that there is nothing underfoot to trip over or even to bother not to trip over. It is also a clean, trim, simple, inexpensive and easy mounting to make. Its designer, son of a well-known sporting artist, writes the following:

"The long overhang of this mounting enables the observer to get completely away from the pier of the instrument, thus affording more freedom when observing, and especially when making drawings of things observed. It is true that the mass of it is to the south of the telescope but since at least three fourths of the observations made with small telescopes are in or about the ecliptic, it follows that little inconvenience will result.

"An additional advantage of this type of mounting is that there is no necessity for changing the telescope from one side of the pier to the other when making long observations that pass the zenith; no matter how it is turned, the tube cannot bump into the pier.

"All that is needed to make this mounting, except the headstock, is some three-inch pipe, two-inch pipe, a few fittings including a union, concrete, six bottles of beer and a little patience. The purpose of the union joint in the vertical strut is to make precise adjustment for latitude."

Schaldach credits an old illustration of a Potsdam astrographic mounting for his inspiration, but does not his solution deserve the name "Schaldach"?

Shown the above description, N. J. , Sehell of Beaver Falls, Pa., commented: "My experience dictates the suggestion that, to avoid jars, the platform slab on which the concrete anchor weight rests should not be extended under the observer's position."

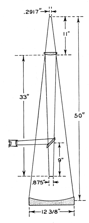
HOW BIG a secondary mirror should be used in a Cassegrainian telescope and, if a tertiary mirror is also used, just what should be the correct diameter of the latter ?


Figure 3: The Cassegrain mirror problem

For an answer to this question, asked by C. R. Hartshorn of 1244 West 109 Place, Los Angeles, Calif., one instinctively turns to "Amateur Telescope Making", pages 381 and 216, where the sizes of secondaries and layouts for Cassegrainians are discussed. There one finds no explicit answer to this uncommon problem. Hartshorn, however, now gives the answer, which isn't quite what might be expected.

"As an example," he says, "take the Cassegrainian shown, which happens to be my own. Suppose the eyepiece is a Ramsden with a 7/8-inch (0.875-inch) field stop and that the tertiary diagonal is nine inches inside focus, hence 24 inches from the secondary mirror. Now you might suppose that since the secondary cone of light is three times magnified (11 inches to 33 inches), it therefore would be the same as the tip of the cone from a primary of 12 3/8 inch aperture and 150-inch focal length. You therefore might calculate your tertiary diagonal size on that premise. Thus 12.375 minus 0.875 leaves 11.500 and this, multiplied by 9/150, gives 0.69 inch. Adding to this 0.875, the result would be 1.565 inch, which would appear to be the minimum size of the tertiary diagonal mirror along its minor axis. (The major axis would be 1.41 times larger.)

"However, I think this would be wrong. Should it not be calculated this way? The image that is to be examined at the secondary focus is 7/8 inch in diameter but the primary image of the same field, before the three times magnification, is only 7/8 divided by 3, or 0.2917 inch, in diameter. Therefore the minimum size of secondary is calculated thus: 12.375 minus 0.2917 leaves 12.0833 inches; and this, multiplied by 9/33, gives 0.5659 inch. Adding to this 0.875, the result is 1.44 inch, and not, as before, 1.565 inch, the minimum size of minor axis of the tertiary flat.

"It now will be seen that the last determination for the flat is 0.12 inch, or about an eighth of an inch, smaller than the first. If larger eyepieces are used in the same calculations the difference becomes even greater. This little difference is important because in this style of Cassegrainian telescope the edge of the diagonal acts as a diaphragm or stop to cut out part of the front light and this helps to give a darker field. Also the same concept-that of the 0.2917-inch primary image relative to the 0.875-inch final image-is useful in determining the size of secondary mirror for any Cassegrainian.

"The first method of calculation, the one which assumes the secondary cone to be the same as the tip of the cone from a long-focus Newtonian and which I am trying to prove wrong for that purpose, would be right if we were to confine our field to a point on the axis. This is because no amplification takes place in that special case, we do not amplify a point. The first method (assuming a 150-inch Newtonian) figures out thus: 12.375 times 9/150 is 0.7425 inch, the minimum size of flat needed to handle a point on the axis. Next, 2.7225 times 9/33 equals 0.7425, the minimum size of flat-either way works for this one case.

 

Suppliers and Organizations

Sky Publishing is the world's premier source of authoritative information for astronomy enthusiasts. Its flagship publication, Sky & Telescope magazine, has been published monthly since 1941 and is distributed worldwide. Sky also produces SkyWatch, an annual guide to stargazing and space exploration, plus an extensive line of astronomy books, star atlases, observing guides, posters, globes, and related products. Visit Sky Publishing's Web site at www.skyandtelescope.com

Sky Publishing Corporation
49 Bay State Road
Cambridge, MA 02138, USA
Phone: 800-253-0245 (U.S./Can.), +1 617-864-7360 (Int'l.)
Fax: +1 617-864-6117
E-mail: skytel@skypub.com

The Society for Amateur Scientists (SAS) is a nonprofit research and educational organization dedicated to helping people enrich their lives by following their passion to take part in scientific adventures of all kinds.

The Society for Amateur Scientists
5600 Post Road, #114-341
East Greenwich, RI 02818
Phone: 1-401-823-7800

Internet: http://www.sas.org/



At Surplus Shed, you'll find optical components such as lenses, prisms, mirrors, beamsplitters, achromats, optical flats, lens and mirror blanks, and unique optical pieces. In addition, there are borescopes, boresights, microscopes, telescopes, aerial cameras, filters, electronic test equipment, and other optical and electronic stuff. All available at a fraction of the original cost.

SURPLUS SHED
407 U.S. Route 222
Blandon, PA 19510 USA
Phone/fax : 610-926-9226
Phone/fax toll free: 877-7SURPLUS (877-778-7758)
E-Mail: surplushed@aol.com
Web Site: http://www.SurplusShed.com