Cost: $0-100
About These Ratings
Difficulty: Beginner to intermediate Danger 1: (No Hazards) Utility:

------------------------

Introduction to the Hobby. Euphonium Reflector, Sundials

---------------------

by Albert G. Ingalls
May, 1948

---------------------

THIS DEPARTMENT FOR AMATEUR astronomers. thousands of whom have made their own telescopes and glass optical parts, was begun in SCIENTIFIC AMERICAN 20 years ago this month. Since then the amateur telescope making hobby has established a permanent place in American life. The ground covered in these columns has been and will be mainly the description of telescopes and other optical instruments built by its readers, plus improvements on the optical art.

Why has telescope making had so lasting an appeal? For a dual reason. First, it gives outlet to the mechanical instinct, expressed in the form of a telescope, an article greatly worth owning and worthy of some pride because it is not easy to make. Second, the telescope unlocks the way to astronomy, a majestic science that far transcends man's imaginative powers.

It is usual for the potential participant in the amateur astronomical hobby to regard telescope making as little more than preparation, but more often he discovers in it so much hidden fascination, largely in shaping curves on glass, that he makes telescope after telescope of different sizes and types, usually neglecting to use them.


Figure 1: Semerau and his six-inch

From an enthusiastic recruit to amateur telescope making, Walter J. Semerau of Box 64 Alloy, W. Va., comes this:

"Those who helped make the amateur telescope making books possible have caused me to live about two years of life in complete contentment. I started grinding the mirror for my six inch reflecting telescope in June and finished in December. I don't believe there is another telescope mirror maker who has derived as much hell and satisfaction from a six-inch hunk of Pyrex. After using up all the wrong methods I reached the right ones after a total of 700 hours' work and finished with a good figure and some small scratches. In doubt, I whipped up a temporary mounting to see whether the mirror would really perform. It performed much better than I had hoped, so I made the permanent mounting shown in the enclosed photograph. The two large setting circles and the saddle by which the tube is fitted to the declination axis were home-made from patterns and castings of duralumin, with the help of your second book Amateur Telescope Making-Advanced which taught me all I needed to know about this accessory art."

Semerau's claim to utmost hell and 700 hours of work is not a record. While about 70 hours for making a first telescope is closer to the average, such an easy outcome robs the maker of much fun fighting and whipping troubles. This department has on hand for publication descriptions of optically flat precision tools that cost their maker 3,000 hours of work, and of an ultra-fine refracting scope that accounted for 17,000 hour enjoyment. There is no limiting length to the enjoyment.

Semerau's telescope is typical amateur work at about the level of the second or third try. Its home grown design centers on sound conventional ideas, but the details are the maker's own. The casting of the metals is not a "must" nor even the custom, since there are other and simpler approaches to the mounting problem. But it is a nice approach. The two setting circles which appear in the photograph are uncommon in first telescopes and the little finding telescope near the top of the tube is a luxury.

A feature of this telescope is the method of focusing the eyepiece by means of a rack and pinion and thumbscrew which move the entire eyepiece, visible in the illustration, and the small diagonal mirror or prism within the telescope tube. These move as a single unit in a length-wise direction, guided by v-ways and retaining strips. This method is a little prettier than the more familiar alternative of sliding the eyepiece in and out an adapting guide in a direction perpendicular to the telescope tube. It is more pleasing mechanically and often less troublesome, as it is less inclined to bind and otherwise perform cantankerously.


Figure 2: Dr. Paul and the euphonium refractor

IF you study the telescope shown in the second photograph you may discover its type but it will be easier to look for the key at the left-hand side of the third picture, drawn by Russell W. Porter. It is a folded refractor made possible by a flat and a prism, and it was built by Dr. Henry Paul of 119 North Broad St., Norwich, N. Y., after a design first proposed by Captain M. A. Ainslie of London. Ainslie's design is embodied in an eight and a half inch refractor of 120-inch focal length made by H. E. Dall of Luton, Bedfordshire and described by this department in October 1937 and September 1938. Ainslie called it the euphonium telescope, after the musical instrument of that name, which it resembles.

Unfolded, this would be a six-inch refractor, eight feet long. This is too long to be portable and is therefore not easy to use. The euphonium design brings the eyepiece near the telescope's center of gravity so the observer need move but little in viewing various parts of the sky. It affords normal astronomical inversion, since the stubby eyepiece can be swung through more than 180 degrees to accommodate any desired angle of view for orientation of image (also for comfort). In this respect Captain Ainslie has said it equals or surpasses reflectors, not omitting those with a rotating tube. Dr. Paul has found that his recent version of the euphonium, or jackknife, refractor is very successful.

"I had among my miscellaneous items a perfect six-inch achromat of 94 inches focal length," he writes, "and decided make a good compact telescope. The design appeared in SCIENTIFIC AMERICAN some years ago and I should now like to renew interest in this type, as the problem of mounting a long refractor is sometimes a discouragement. The excellent six-inch achromat and four-inch flat were made by Patrick A. Driscoll of Lima, N. Y., author of several articles in The Amateur Astronomer, and I made the instrument in a few days, mainly from insulating Bakelite and aluminum angles.


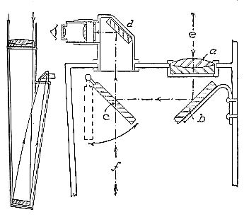
Figure 3: Detail of the euphonium

"The flat (see cut-Ed.) is of fused quartz and is precise to a tenth of a wave-length. The eyepiece, which swings more than 180 degrees, should be placed in the corner for convenience to the owner's better, or leading, eye (important) The unoccupied corner may be used for a finder as sketched. In this drawing, a the finder lens (two inches in diameter, 10 inches focal length); b is a fixed optical flat; c is a hinged, swinging optical flat; d is the eyepiece diagonal; e is a ray of light to the finder objective and f is a ray from the main objective by way of the flat at the bottom of the tube. A knob swings the mirror c as shown, instantly making the change from the wide (six-degree) field of the 10X finder to the two thirds of a degree field of the 90x telescope. But the finder alone; with the 10x, 20x and 30x magnification afforded by different eyepieces, is an interesting and useful instrument for open clusters, the Milky Way, and nebular observation.


Figure 4: The flat that folds the refractor

"Advantages I find," Paul continues, "are: 1) Compactness: the whole telescope fits crosswise in a car, is easy to handle (note handle on side), and is fully portable. 2) The mounting need be no larger than for a six-inch reflector. 3) Ease of viewing because of widely swinging eyepiece. Disadvantages are: 1) Need of a flat two thirds the diameter of the objective. 2) Some light loss. 3) Heat from the observer's head if the eyepiece is too near the main objective lens; this is why it is placed as shown." For the three and a half inch, very long focal ratio (f/30), special planetary observing type of refractor described with lens specifications by this department in April 1946 by Colonel Lewis of Little Rock, Ark., the euphonium seems to be one good answer.

ONE of the numerous ramifications of telescope making is sundial making, in the course of which the worker becomes familiar with the earth's motions in a way that makes them really sink in to stay. Russell Porter, patron saint of the amateur telescope makers, has found no cure for his sundial itch. His drawing here shows his nineteenth sundial or sun clock since he moved from Vermont to California 20 years ago. After each sundial binge he takes the pledge and promises faithfully to give up the habit, but it always gets out of control and he takes just one more. Like some of its predecessors, this sundial is in a bottle, a pretty large one at that. He writes:


Figure 5: Porter's nineteenth sundial

"This is a sun timekeeper that requires no machining or gears, if one is willing to spend something under five dollars for the 11-liter flask (made by Corning).

"It is equatorially mounted, with a thrust bearing at B and two pads at F. A is a single lens that throws the sun's image on the analemma C when the flask is turned on its supports.

"The time scale on a strip of paper E is pasted on the outside of the sphere. the divisions are five minute intervals and by interpolation the index at D easily permits estimating to single minutes.

"The base is of wood but any kind of base may be used to provide a three-point support. At B is a hole drilled through flask. The stud through it acts as a thrust bearing.

"Another hole is drilled through the flask just under the center of the analemma for a screw to draw down its metal band to a curvature with the lens its center.

"The flask is remarkably spherical; calipers can detect no departure.

"Warning: Extreme care must be taken locate accurately B, the analemma screw, the time scale and the plane of the central line of the analemma. Fortunately the throat of the flask neck was just large enough to allow insertion of the plate carrying the analemma.

"The sun clock makes an interesting garden ornament but, after playing with it a while, go to your telephone and ask, 'What time is it?"'

Fully to explain this sundial, if perchance the reader lacks a rudimentary education in astronomy, and how to design one for the maker's own unique latitude and longitude, would require several articles, after which the reader still would find himself resorting to the book Sundials, by Mayall and Mayall, to learn the fundamentals of all sundial types. If, however, he has made and used an equatorial telescope he is already down to first base in knowing the earth's motions for sundial design. He still may have to give an hour or so to looking into the fact that the earth does not move uniformly in its orbit and to studying the effect of the obliquity of the ecliptic. These are combined in the "equation of time," of which an analemma shaped like the figure eight is a graph. In Porter's sun clock the sun's image falling on that graph automatically allows for the equation of time. Incidentally, the graph can also be made a calendar.

To make the holes in the flask calls only for a hand drill, an inch of small tubing in its chuck, a few dabs of wet abrasive grains and five minutes' elbow grease.

 

Suppliers and Organizations

Sky Publishing is the world's premier source of authoritative information for astronomy enthusiasts. Its flagship publication, Sky & Telescope magazine, has been published monthly since 1941 and is distributed worldwide. Sky also produces SkyWatch, an annual guide to stargazing and space exploration, plus an extensive line of astronomy books, star atlases, observing guides, posters, globes, and related products. Visit Sky Publishing's Web site at www.skyandtelescope.com

Sky Publishing Corporation
49 Bay State Road
Cambridge, MA 02138, USA
Phone: 800-253-0245 (U.S./Can.), +1 617-864-7360 (Int'l.)
Fax: +1 617-864-6117
E-mail: skytel@skypub.com

The Society for Amateur Scientists (SAS) is a nonprofit research and educational organization dedicated to helping people enrich their lives by following their passion to take part in scientific adventures of all kinds.

The Society for Amateur Scientists
5600 Post Road, #114-341
East Greenwich, RI 02818
Phone: 1-401-823-7800

Internet: http://www.sas.org/



At Surplus Shed, you'll find optical components such as lenses, prisms, mirrors, beamsplitters, achromats, optical flats, lens and mirror blanks, and unique optical pieces. In addition, there are borescopes, boresights, microscopes, telescopes, aerial cameras, filters, electronic test equipment, and other optical and electronic stuff. All available at a fraction of the original cost.

SURPLUS SHED
407 U.S. Route 222
Blandon, PA 19510 USA
Phone/fax : 610-926-9226
Phone/fax toll free: 877-7SURPLUS (877-778-7758)
E-Mail: surplushed@aol.com
Web Site: http://www.SurplusShed.com