Cost: $0-100
About These Ratings
Difficulty: Beginner to intermediate Danger 1: (No Hazards) Utility:

------------------------

The Hale Mirror. British Vs. American Eyepieces & Focus Controls

---------------------

by Albert G. Ingalls
January, 1948

---------------------

TWO OF PORTER'S SKETCHES, Figures 1 and 2, "were made," he writes, in the optical shop in Pasadena while the 40" glass plug, weighing 450 pounds, was being removed from the 200" mirror. It was a delicate operation, as the plug was cemented into the large mirror with plaster of Paris. The men are shown digging out the plaster. Figure 2 shows the face side."


Figure 1: Hole enters plug

Time out to gasp. Is that workman a housewrecker recklessly wielding a crowbar on the finished, figured, completed mirror? So Porter was asked and answered, "The 'crowbar' was a rod of steel only about 1/4" in diameter, and the technique was simply digging out the plaster little by little, the clearance between the mirror and plug being about 3/8". The last segment was undug at the top, so that when this finally broke away the plug just dropped onto a bed of powdered plaster underneath."

"In the first sketch," Porter continues, "the mirror is shown as it hung from a strap


Figure 2: Mining out plaster

from the 50-ton crane above. At the left is a massive supporting frame for a heavy horizontal timber with its end turned cylindrical (10" diameter) to fit a corresponding hole in the rear the glass plug. When the glass plug was freed the crane advanced the mirror until the wooden plug entered the hole. Then the mirror was lowered slightly until the plug was loose and free, and was moved away from the plug, leaving it resting on the timber's end.


Figure 3: Allen focus control

"It is interesting to remember how the glass plug was inserted, years ago. It was rested on a cake of ice and, as the ice melted, the glass settled slowly, safely, into the 40" hole."

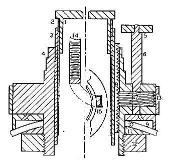
Since the two pictures take the place of 20,000 words few words are needed to describe the clean, workmanlike brass-bronze telescope eyepiece focus control shown in Figures 3 and 4, designed and made by Philetus Allen, 1 John Street, Glens Falls, New York.

1 is the eyepiece

2 is its standard 1 1/4" tubing.


Figure 4: Focus control detail

3 is the adapter tubing.

4 is the housing.

5 is the hand control.

6 is its spindle.

7 is the worm.

8 is the worm rack.

9 is an adapting plate to fit tube.

10 is the tube.

11 is a washer fitted inside tube.

12 is a ring nut.

13 is a band.

14 represents face of worm rack.

15 represents a section of the bottom,

the keyway, and rack.

Your scribe has manipulated this focus control, which works as smoothly as a turtle's neck. Allen adds: "The worm rack, 8, was made by threading the inside of a length of brass tubing, 12 threads per inch, and then cutting a 1/4" section from this and soldering it to the adapter tube. The worm is of polished steel. Everything can be made on a lathe except the keyway and slot for the worm, which are shaper jobs."

PRECISELY in which details British and American standard astronomical eye-piece shells differ having long been something of a mystery, H. E. Dall, 166 Stockingstone Road, London, England, a co-author of "A.T.M.A.," was invited to contribute a note and kindly sent Figure 5. "This," he writes, "is a typical medium-power eyepiece of British standard thread type as used most commonly here. Advantages of the screwed mounting are: easier to remove or insert without shaking the telescope; doesn't get stiff with lack of grease; and better for attaching cameras, spectroscopes and Barlow lenses.


Figure 5: British eyepiece mount

"Generally, however," he comments, "the British product has too long a thread. Whenever I make them I try to confine the thread to one complete turn only. This is adequate for such a 9 coarse pitch screw and is very quick to remove or attach.

"In my drawing," Dall continues, "a Huygenian eyepiece is shown, this being by far the most common astro eyepiece used in this country. It seems that the Ramsden type is more favored by Americans. The Huygenian gives no color fringes outfield, as does the Ramsden. Dust on the field lens is not visible, especially to near-sighted folk. The eye clearance is greater. The somewhat higher spherical aberration is not troublesome until applied to short focus mirrors, f/7 or shorter. The advanced amateur will prefer the orthoscopic type to either, though for f/15 refractors there is no gain except greater eye clearance."

THROUGH the winter winds of the 9272-foot Pic du Midi in the central French Pyrenees violently shiver its outer shell, or carapace, (Figure 6), the telescope just within will remain always in a dead calm. This telescope at the famous French observatory is to be a 59", f/5 Newtonian-Cassegrainian. It is described in L'Astronomie (Paris) and will be something to watch. A translation:

"The principal original feature of the 150-centimeter reflector will be the fact that it is not to be sheltered in a


Figure 6: Its skin doesn't touch

dome. For this there are two reasons," says Director Baillaud. "The main one the one that decided us, is that the air movements that exist in a dome in the neighborhood of the dome slot are an important cause of image troubles. The second in practical order is that we have not found a place on the top of the peak to build a big enough dome to house our reflector. The instrument will not be in the open air, even then; it will be sheltered by a sheath, a carapace, which will conform to all its outlines and follow along in all its movements without touching any part. This carapace will absorb the force of the winds. The axes round which the carapace will turn will be concentric with the axes which turn the telescope. The two polar axes will rest on piers so independent of each other that the vibrations of the carapace cannot be transmitted to the telescope by the earth.

"This altogether new design, which will seem very bold considering the severe climatic conditions on the Pic du Midi, was conceived in the course of conversations between Monsieurs Lyot, Carmichel, Gentile, and myself," Dr. Baillaud continues. "The fact is, we believe that it will involve no complications and that it will not cost more than a dome. To us it seems to be the coming solution for reflectors larger than about 60" in diameter."

The men named as behind this daring design, a moving carapace unlike the fixed one which surrounds the tower telescope on Mt. Wilson, are the ablest practical optical scientists in France. Dr. Couder is astronomer at the Observatory of Paris and, with Dr. Andre Danjon, is co-author of the book "Lunettes et Telescopes ("Reflectors and Refractors") a sort of advanced Bell which should be translated into English. Dr. Lyot is famous for his invention, design, construction and use of the Lyot coronagraph by which solar eclipses can be made artificially at any time.

The three-meter shell or carapace enclosing the telescope will contain a little inner coop where the astronomers can observe at the Cassegrainian focus and another coop for the Newtonian focus, also ladders, the finder and a 19 1/2" refracting telescope. Access to these coops will be by trap doors. The coops will be air-controlled to a comfortable temperature but the air in the interior of the tube and in contact with the mirror will be held artificially at an even lower temperature than that of the air outside, in order to produce a stratification of the air which should tend to diminish its circulation within. One other new feature of the Pic du Midi telescope is to seal the tube at the skyward end with a plane-parallel glass window to break up air currents. A somewhat similar proposal, though with a different object, has reached this magazine from S. L. Walkden, father of the Richest-field telescope, London. "I have speculated on trying the following. For a 6" Newtonian prepare a thin, say 3/16", plano-plano plate of finest low-dispersion optical glass and surface workmanship and place this in the main tube an inch or two farther out than the flat. Attach the diagonal to this and it becomes a supporting plate having no spider diffraction. Film-coat the two surfaces of the glass to minimize light losses."

MULTIPLYING the number of telescope makers by the number of mirrors made by each, and again by the coefficient of human carelessness Kc, we find that plumbers have been called to y homes to clean abrasive gunk from z drain traps; while n carloads of only half-used Carbo have been wasted. Some thrifty mirror makers keep a deep pail under their washing spigot at all times and all grit from whatever source ultimately reaches its bottom and stays there unless the water is unnecessarily stirred up.

After a few mirrors have been made this catch-all, now half full of gunk, is taken to a flowing brook and stirred until the milk (glass fragments) and finder grit have floated downstream. A surprising amount of clean coarse Carbo will be found in the bottom- enough to hog out the next mirror.

To re-grade this mixture probably would not pay. Moreover, this would require more equipment and skill than may at first seem called for. At least, the manufacturers of abrasive grains have long sought ideal ways to grade their product but found only approximations.

Suppliers and Organizations

Sky Publishing is the world's premier source of authoritative information for astronomy enthusiasts. Its flagship publication, Sky & Telescope magazine, has been published monthly since 1941 and is distributed worldwide. Sky also produces SkyWatch, an annual guide to stargazing and space exploration, plus an extensive line of astronomy books, star atlases, observing guides, posters, globes, and related products. Visit Sky Publishing's Web site at www.skyandtelescope.com

Sky Publishing Corporation
49 Bay State Road
Cambridge, MA 02138, USA
Phone: 800-253-0245 (U.S./Can.), +1 617-864-7360 (Int'l.)
Fax: +1 617-864-6117
E-mail: skytel@skypub.com

The Society for Amateur Scientists (SAS) is a nonprofit research and educational organization dedicated to helping people enrich their lives by following their passion to take part in scientific adventures of all kinds.

The Society for Amateur Scientists
5600 Post Road, #114-341
East Greenwich, RI 02818
Phone: 1-401-823-7800

Internet: http://www.sas.org/



At Surplus Shed, you'll find optical components such as lenses, prisms, mirrors, beamsplitters, achromats, optical flats, lens and mirror blanks, and unique optical pieces. In addition, there are borescopes, boresights, microscopes, telescopes, aerial cameras, filters, electronic test equipment, and other optical and electronic stuff. All available at a fraction of the original cost.

SURPLUS SHED
407 U.S. Route 222
Blandon, PA 19510 USA
Phone/fax : 610-926-9226
Phone/fax toll free: 877-7SURPLUS (877-778-7758)
E-Mail: surplushed@aol.com
Web Site: http://www.SurplusShed.com